Hauptmenü

Jansjö-Knechtfuss

Begonnen von rheinweib, Oktober 05, 2012, 15:27:14 NACHMITTAGS

Vorheriges Thema - Nächstes Thema

Kurt Wirz

#15
Hallo Herr Henkel
Vielen Dank, für ihre Bestätigung meiner Äusserung.
Da Luminare für die Fotografie entwickelt wurden, ist es somit
auch wichtig, wieviele Zeilen auf die Bildbreite des resultierenden Bildes aufgelöst werden.
Da sieht es bei einer Verlängerung der Tubuslänge bei Luminaren
nicht sehr gut aus.
Beispiel Luminar25mm
Bei 4:1 beträgt die Auflösung 320 LP/mm. Die Nikon D7000hat eine Chipbreite 23.6mm,
somit ist der dargestellte Bildausschnitt in Realität 23.6/4= 5.9mm.
Auf der resultierenden Bildbreite erhält man somit 5.9mm x 320 LP/mm = 1888 LP/Bildbreite.

Bei 10:1 beträgt die Auflösung des Luminars 25mm 450 LP/mm.
somit ist der dargestellte Bildausschnitt in Realität 23.6/10 = 2.36mm
Auf der resultierenden Bildbreite erhält man somit 2.36mm x 450 LP/mm = 1062 LP/Bildbreite.
Obwohl die Auflösung bei 10:1 höher ist wie bei  4:1, so sinkt doch die Menge der Information
auf dem Bild gewaltig (von 1888LP auf 1062 LP/Bildbreite).

Verwendet man für 10:1 ein Mikroskop Objektiv,
z.B. Nikon CFN PLAN 10/0.30, sieht es folgendermassen aus:
Bei 10:1 beträgt die Auflösung des Nikon 10X, 900 LP/mm.
Hier beträgt die Bildbriete ebenfalls 2.36mm.
Auf der resultierenden Bildbreite erhält man somit 2.36mm x 900 LP/mm = 2124 LP/Bildbreite.
Das ist eine doppelt so hohe Auflösung!

Ich erachte es somit als sinnlos, sofern man eine gute Auflösung möchte, die Tubuslänge bei
den Luminaren zu erhöhen.

Gut Licht

Kurt


Klaus Henkel

Zitat von: rheinweib in Oktober 05, 2012, 23:59:45 NACHMITTAGS
also da steht drauf "PZO" oder Null....und 4,5x und das Ding hat keine Frontlinse wie bei Okularen.
Was ist das denn dann für ein Teil??
Durchgucken geht nicht.
Is das kompliziert....ich werds mal dabei belassen, wenns gut aussieht, dann passts (Fotografendenken).

Hallo Heike!
Es könnte sich um ein Fotookular handeln. Die Angabe 4,5x ist ungewöhnlich, sogar für Olympus. Eventuell würde es mir helfen, wenn ich gute Bilder von dem Teil sehen könnte, aber Erfolg versprechen will ich nicht. Im Forum gibt es ja eine gute Anzahl Oly-Spezialisten, vielleicht kann jemand das Teil identifizieren.

Im übrigen pflichte ich Dir bei, was das Fotografendenken anbelangt.

Gruß
KH

Klaus Henkel

Zitat von: beamish in Oktober 06, 2012, 00:11:00 VORMITTAG
Zitat von: Klaus Henkel in Oktober 05, 2012, 23:54:37 NACHMITTAGS
Weitere Voraussetzung: Die mechan. Tubuslänge muß eingehalten sein. D. h. die Objektive müssen für die mech. Tubuslänge des Mikroskops berechnet sein.
Und der Fotograf muß "rechtsichtig sein". Ist der Fotograf Brillenträger, so muß mit der Fernbrille fokussiert werden, keinesfalls mit der Lesebrille.

plötzlich bin ich hellwach! Treffen die von Ihnen beschriebenen Bedingungen vielleicht auch auf das "bloße" Kalibrieren der Optik per Objektmikrometer zu? Muß hier auch auf die korrekte Brille geachtet werden? Wie groß könnten die Abweichungen sein? Ich z.B. bin kurzsichtig (ca. 2 Dioptrien, auf beiden Augen gleich) und benutze beim Mikroskopieren keine Brille. Natürlich sind meine Okulare dementsprechend eingestellt.


Lieber Herr Be...nn!

Wenn Sie den Mikrometerwert eines Objektivs bestimmen, geschieht das ja anhand der beiden Skalen im Objekt- und im Okularmikrometer. Das sind ja reale Strecken mit Angabe der Werte. Da passiert nichts,
Aber wenn Sie durch Brille, Okulardioptrieneinstellung, oä. eine Tubuslängenänderung verursacht haben, wird das Bild des Objekts, das Sie durch das Meßokular sehen, größer oder kleiner sein als bei Benützung der korrekten Tubuslänge. Dabei entsteht ein Meßfehler. Ob und in welchen Fällen er gravierend ist, kann ich leider nicht berechnen. Doch haben wir im Forum begnadete Optiker, die das können und eventuell Hinweise geben.

Beste Grüße!
KH

beamish

Lieber Herr Hen...el,  :D

ich habe mich schon wieder beruhigt. Ich messe ja nicht per Okularmikrometer sondern ich habe meine Objektive mit einem Objektmikrometer im Verhältnis zur Pixelanzahl meiner Kamera geeicht. Das sind z.B. bei meiner Coolpix 5000 beim 10er Achromaten 1002 µm auf 2560 Pixel. Da ich mit müden Augen lieber verzichte zu mikroskopieren, als an den Okularen herumzuschrauben und damit die Tubuslänge zu verändern, passiert da auch nichts. Mein Denkfehler war, daß ich da von Anfang an etwas nicht berücksichtigt haben könnte, was natürlich Blödsinn ist. So ähnlich hat das auch Lothar schon angedeutet. (Danke dafür.)
Aber lieben Dank, daß Sie sich nochmal mit meiner unbedarften Frage beschäftigt haben!

Herzlich

Martin B.
Zeiss RA mit Trinotubus 0/100
No-Name China-Stereomikroskop mit Trinotubus
beide mit Canon EOS 500D

rheinweib

#19
und ich versuche, das alles zu verstehen....... :-[ hmmmm

Hallo Klaus,
Projektivbilder? Daaaa kann ich helfen:






Unterseite






detailliert genug?


Gruss
Heike

junio

Hallo Heike,

es wird sich hier um ein negatives Projektiv handeln.

Hierzu schreibt Gerhard Göke in seinem Buch "Moderne Methoden der Lichtmikroskopie":

"Neben den Projektiven normaler Bauart gibt es Projektive mit negativer Brennweite. Hierzu gehören die heute nicht mehr hergestellten Homale.... Es sind auch sind auch Projektive mit negativer Brennweite in Gebrauch (PZO), die mit Achromaten und Planachromaten benutzt werden und eine sehr kurze Objekt-Bildentfernung haben. Der Abstand zwischen Projektiv und Filmebene ist so gering, daß die Ecken des Filmformates gerade nicht vignettiert werden. Da das reelle Zwischenbild im inneren ihres Systems liegt, erfordern sie sehr kurze Fototuben."

Das wird die Erklärung sein, weshalb "durchgucken nicht möglich ist" und Ungänzen in der Vergrößerungsfrage aufgetaucht sind, da bei Deiner Anwendung wohl diese kurzen Objekt-Bildentfernungen nicht eingehalten sind .

Grüße aus Hagen von Jürgen

Klaus Henkel

Zitat von: junio in Oktober 07, 2012, 10:20:57 VORMITTAG

es wird sich hier um ein negatives Projektiv handeln.
Das wird die Erklärung sein, weshalb "durchgucken nicht möglich ist" und Ungänzen in der Vergrößerungsfrage aufgetaucht sind, da bei Deiner Anwendung wohl diese kurzen Objekt-Bildentfernungen nicht eingehalten sind .
Grüße aus Hagen von Jürgen

BINGO!

Lieber Jürgen

Da hatte ich irgendwas in den falschen Hals gekriegt, war fälschlicherweise auf der Spur Olympus. Danke für Deine Hilfe. Herzl. Gruß an T.

Heike, ich gebe Ihnen in Kürze einen Link auf eine Schnittzeichnung etc von Göke zu diesem Negativen Projektiv. Daraus können Sie erkennen, ob Sie Ihre Kameraadaption mit geringem Aufwand noch etwas optimieren können.
Sonntagsgrüße!
KH

rheinweib

Donnerknispel, genau das hat Günter doch gesagt, ich erinnere mich:
"das ist ein negatives Projektiv, nimm den abgesägten Tubus, den kürzesten, den du hast".

@Klaus H.: ich mags gern "per Du"  ;D

Gruss
Heike

Klaus Henkel


Zitat von: Klaus Henkel in Oktober 07, 2012, 11:12:16 VORMITTAG
in Kürze einen Link auf eine Schnittzeichnung etc von Göke zu diesem Negativen Projektiv. Daraus können Sie erkennen, ob Sie Ihre Kameraadaption mit geringem Aufwand noch etwas optimieren können.

Hallo Heike!

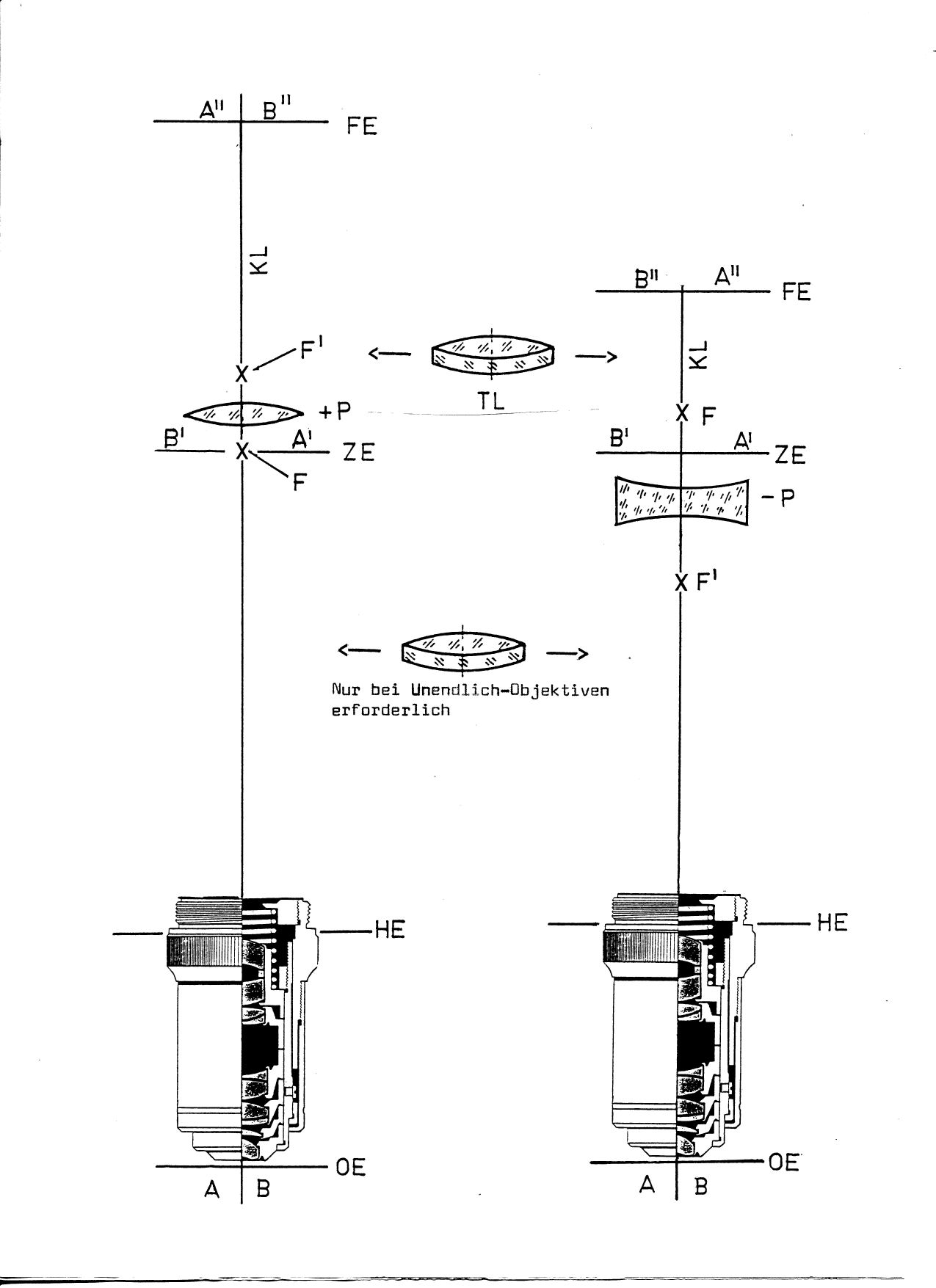
Der wesentliche Vorteil des negativen Projektivs, ist die damit erzielbare geringe Bauhöhe der ganzen trinokularen Kameragimmik, was Erschütterungen und Schwingungen merklich reduziert. Man könnte sogar mit einem Winkelsucher an der Kamera im Sitzen einstellen! Auif diesen Fotos ist das gut erkennbar.
http://www.weihenstephan.org/~fsrklauhenk/FotosAufbau.mitNeg.Proj2.jpg

Hier sieht man dann den Aufbau schematisch
http://www.weihenstephan.org/~fsrklauhenk/SchemaProjektive2.jpg

und hier sind die Erläuterungen zu der Grafik
http://www.weihenstephan.org/~fsrklauhenk/Erlaeut.Schemazeichnung2.jpg

Und aus der folgenden Preisliste von Göke (1999) ist ersichtlich, daß das 4,5x neg. Projektiv für achromatische Objektive
gerechnet ist.
http://www.weihenstephan.org/~fsrklauhenk/Preislist,mitSkizze2.jpg

Auf dieser Schemazeichnung ist auch eine Schnittzeichnung eines negativen Projektivs (Abb. Nr. 4), man sieht die tief in der Fassung liegende
Linsengruppe, wie das auch schön aus Ihren Fotos ersicht ist.
http://www.weihenstephan.org/~fsrklauhenk/NegProj4,5PZO.jpg

Bei anderen Objektiven z. B. Planachromaten oder andere Planobjektiven, ist mit geringen Qualitätseinbußen zu rechnen.
die aber sicherlich nur an den Bildrändern auftreten, wenn sie denn auf einem Chip überhaupt sichbar werden.

Die Okulare und Projektive von PZO harmonieren ausgezeichnet mit denen von Carl Zeiss (West),
weil die Polnischen Opt. Werke die opt. Konstruktionsparameter von Zeiss-West verwendet haben!

So. Das wars nun aber
Einen schönen Sonntag! - Hier regnets.
KH

Klaus Henkel

Zitat von: rheinweib in Oktober 07, 2012, 13:10:41 NACHMITTAGS
Donnerknispel, genau das hat Günter doch gesagt, ich erinnere mich:
"das ist ein negatives Projektiv, nimm den abgesägten Tubus, den kürzesten, den du hast".

@Klaus H.: ich mags gern "per Du"  ;D
Gruss
Heike

Danke. nächstes Mal - bestimmt.
KH